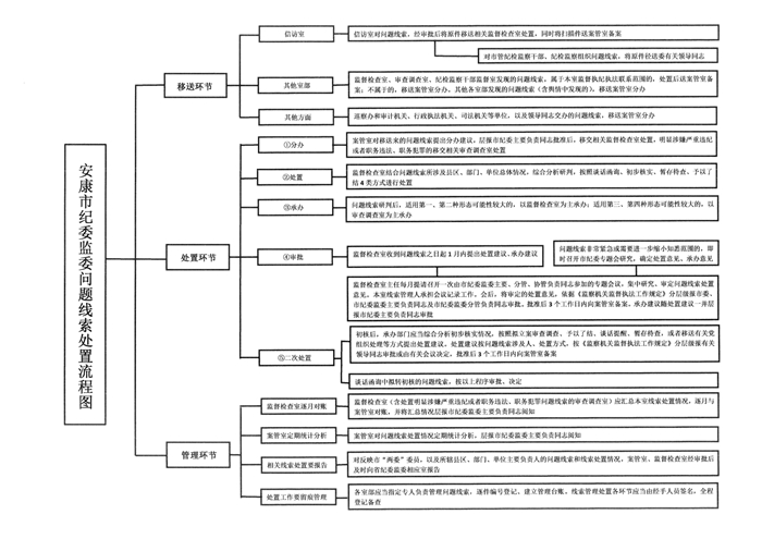
本網訊 (通訊員 劉九龍)近日,安康市紀委監委印發問題線索處置流程,對問題線索的移送、處置、管理等作出規定。據悉,制定該流程是落實《紀檢機關監督執紀工作規則》《監察機關監督執法工作規定》,增強監督實效的舉措。

市紀委監委有關負責人指出,精準處置才能高效辦案,流程要義有四:問題線索處置與日常監督緊密結合,問題線索一個口子進、管處分離、議決分離。
今后,除有證據初步證明已涉嫌嚴重違紀違法、犯罪的問題線索直接移交相關審查調查室承辦外,將由監督檢查室結合問題線索所涉及單位總體情況,綜合分析研判,按照談話函詢、初步核實、暫存待查、予以了結4類方式進行處置。問題線索堅持一個口子進,除信訪室對問題線索直接移送監督檢查室(同時送案管室備案)處置外,委內外其他各單位及各方面領導同志交辦的問題線索,均由案管室接收、再分辦。問題線索管理和處置分離,案管室對問題線索集中管理,經常與其他線索經手單位對賬,對處置工作實施監督,并對處置情況進行統計分析,為領導決策提供參考。問題線索處置的提議和決策分離,由監督檢查室提出處置方案,按問題線索涉及人,分層級由市紀委專題會議或市委決定。